AMIGO Base
| Part Links |
| Author |
| TU/e |
| CST Group, TU/e |
| rop@tue.nl |
| CAD Files |
| Inventor |
| STEP |
| Electrical Drawings |
| License |
| License Files |
AMIGO: Head | Arms | Torso | Base
Part Summary
The base acts as the support structure for AMIGO. It provides space for important hardware for the platform like the PC's, batteries, laser range finder and the wheels.
- Author: CST Group, TU/e
- License: CERN OHL v.1.1
- Repository: https://gitlab.tue.nl/tech-united-eindhoven/rop/-/tree/master/AMIGO/Base
- Software: http://www.ros.org/wiki/Robots/AMIGO
Overview
Under Construction
Figure 1 shows the CAD model of the fully assembled base.

Specifications
Construction
- Dimensions (HxWxD): 71 x 65 x 65 cm
- Weight: +/- 44 kg
Electrical
x4 Makita Ni-MH (BH2433) batteries.
- Type: Ni-MH
- Size: (HxWxD) 86.82 x 96.72 x 120.48 mm (per battery)
- Weight: 1,473 kg (per battery)
- Capacity: 3.3 Ah
- Voltage: 24 V
- Autonomy: 15 min (active use) 30 min (normale use)
Computer
Three on-board PCs
AOpen DE57-HA:
- Dimension: 166 x 48 x 157 mm
- Weight: 1.22 kg
- CPU: Intel Core i5
- Memory: 8GB DDR3 1066MHz
- LAN: Intel Gigabit Ethernet
- USB: USB 2.0 Port x 4
- Storage: S-ATA 500Gb
- Power: 90W max
Communication
USB
Gigabit Ethernet
- Cisco Linksys E2000 router
- Gigabit Ethernet switch
EtherCAT Network
- 1 kHz Control to Base Motors
- Trigger signal from Laser Scanner
- Diagnostic signals from robot vitals
- Expandable with further Beckhoff modules
Vision
LRF
Hokuyo UTM-30LX
- Power: source 12V +/- 10%
- Current: consumption 0.7A (max. 1.0 A)
- Detection range: 0.1 to approx. 60m (<30m guaranteed)
- Laser wavelength: 870 nm, Class 1
- Scan angle: 270 degrees
- Scan time: 0.025 s/scan (40.0 Hz)
- Angular resolution: 0.25 degrees
- Interface: USB 2.0 with trigger port
- Weight: 0.233 kg
- Measurement error: 0.1 to 10m (+/-30mm) / 10 to 30 m (+/-50mm)
Software
- Ubuntu
- ROS (Robot Operating System)
- Programming: C++ / Phyton
Degrees of Freedom
Omni Directional Base
- Omniwheels: 4 driven
- Speed: 1 m/s
Motor Specifications
Drive motors
- 4x Maxon RE40 24 V
- 4x Maxon Planetary gearhead 42 C 43:1
- 4x Maxon encoder: HED 5540
Mechatronics
Base Plate
Figure 2 shows the base plate of Amigo. It is a milled aluminum part. The main part (1) consists of a bottom plate and raised edges at the perimeter of the plate. The plate has a thickness of 5 mm and the raised edges are 25 mm high. The wheel protectors (2) are bolted to the raised edges. The same holds for the round edge protectors (7). Blocks (3) and (4) are used to clamp the batteries to the base plate. Blocks (3) are part of (1), so they are milled from the same piece of aluminum. Blocks (4) are loose parts, which are bolted to blocks (3). The design of the battery clamps is not completely finished yet. The electronic connector is not in it. The mounting point for this is not designed yet. But it is intended to be equal to the mounting point in the Turtle.

A hole (5) is made in the centre of the base plate. This hole provides access to the tooth belt. The hole is covered from the bottom side by a 2 mm aluminum plate that is bolted to the base plate with counter sunk M3 bolts. The array of holes (6) is used for cooling of the PC which is positioned above it. Air can flow through the hole into the PC.
Electronic Components Mounted on the Base Plate
Figure 3 shows the positioning of the electronic components that are mounted on the base plate. More information about the electronic components will be given in the electronics chapter. The components are:
1. The batteries
2. Industrial Beckhoff PCs with its stock mounting plate and a support unit that is used to connect it to the base plate.
3. EtherCAT stacks
4. Amplifier for the lifting mechanism (part of the torso)
5. Encoder collection print
6. Fuse print
7. 3 DC/DC power converters
8. Laser Range Finder mounted to a beam via a 5mm thick aluminum plate. The 105mm long beam is bolted to the front edge protector (denoted (7) in figure 2)
9. Main relay

Omniwheels
Custom made omniwheels are used for Amigo. An exploded view of the wheel is depicted in figure 4. The wheel has a diameter of 150 mm. Ten small rollers (2) are positioned around its perimeter. Each of these rollers is fitted with seven O-rings. These provide the grip. The O rings vary in diameter. (Inner diameter 24 mm, 23 mm, 21 mm, 18 mm) They all have the same thickness (5 mm). The small rollers are relatively large. This allows higher obstacles to be crossed. The diameter of the wheel gives the platform a ground clearance of approximately 40 mm. Two needle roller bearings (INA HK0609) are placed inside each roller to ensure smooth rolling. The axles of the rollers are clamped between the outer rings (1) and (6) and the inner rings (3) and (5). Countersunk M4 bolts (4) are used to bolt the rings together. Both sets of wheels are aligned on the main hub (1) to which one of the outer rings already is attached. 5 M5 bolts (7) are used to bolt the second set of wheels to the main hub. The blue rings at the outside of the rollers are M6 shims with a thickness of 0.5 mm. All components of the wheel are made of aluminum. Technical drawings of the wheel are also provided.

Leg
The U profile (1) has flanges at the upper and lower edge of the front plate. The lower flange connects the front plate to the motor support. The upper flange (2) is used for the connection of the upper half of the frame. The rear end plate (3) is inserted between the side plates of the U profile. This plate forms the vertical back plate and the horizontal top plate of the leg. Flanges with holes (4) are added to the vertical plate. These align with the large holes in the side plates. Rivnuts are inserted in these holes and connect the rear end plate to the side plates. The rivnuts provide the threaded holes required to bolt the leg to the central box. They are countersank in the side plates to create a flat outer surface. The flange at the end of the horizonal top plate (6) is also used for the connection of the upper half of the frame. In the cross section view of figure 5 it can be seen that a plate can be inserted between the U profile’s upper flange (2) and the top plate flange. The holes in both flanges align. Rivnuts are inserted in the holes of the top plate flange. They provide the necessary threaded holes to bolt the inserted plate to the leg. This plate presses on top of the leg. To prevent the top plate from bending, two horizontal flanges (5) are added. These are pop riveted (10) to the side plates. The top of the leg is closed by the connection plate (7). This is pop riveted to the front plate of the U profile and to the top plate. A rear plate (8) closes the box. The connection to the U profile is similar to the connections used in the central box. An internal plate (9) is added to provide extra torsional stiffness to the box. Finally, the motor support is glued between the side plates of the U profile. The sheet metal components of the leg are made of two millimeter aluminum sheets. They can be cut with a laser cutter.

Figure 6 shows the exploded view of one leg with the position of the omniwheel (1) which is attached to the motor (4). Figure 6 shows the assembled motor with an encoder mounted to the back and a gear head at the front. This assembly is inserted in the motor support (2) It must be possible to remove the motor assembly from the completed robot, if this should be necessary. Therefore, it is axially inserted in the motor support. The support is a milled 6061 aluminum part. The motor clamp (3) is positioned over the motor assembly. Two M5 bolts tighten
the clamp to the motor support. The motor assembly is clamped radially at the gear head. Finally an amplifier (5) for the motor is bolted to the rear plate.

Central Box
It is important to keep the axes of the wheels in the same horizontal plane, even after a
collision. This requires a stiff central box and stiff legs. A stiff box transmits the force to the other legs. Therefore, the whole frame contributes to the absorbtion of an impact. The central box needs to be both stiff and light. This is achieved with the closed box principle.
This is a box with all the material in the walls. A closed box of constant wall thickness
is the stiffest and lightest design with that quantity of material within that volume.
The box is built up from sheet metal components, which are welded and pop riveted
together. The components are loaded in their plane. This addressed the shear stiffness
and the in plane bending stiffness of the sheet, which are much larger than its out of plane
bending stiffness.
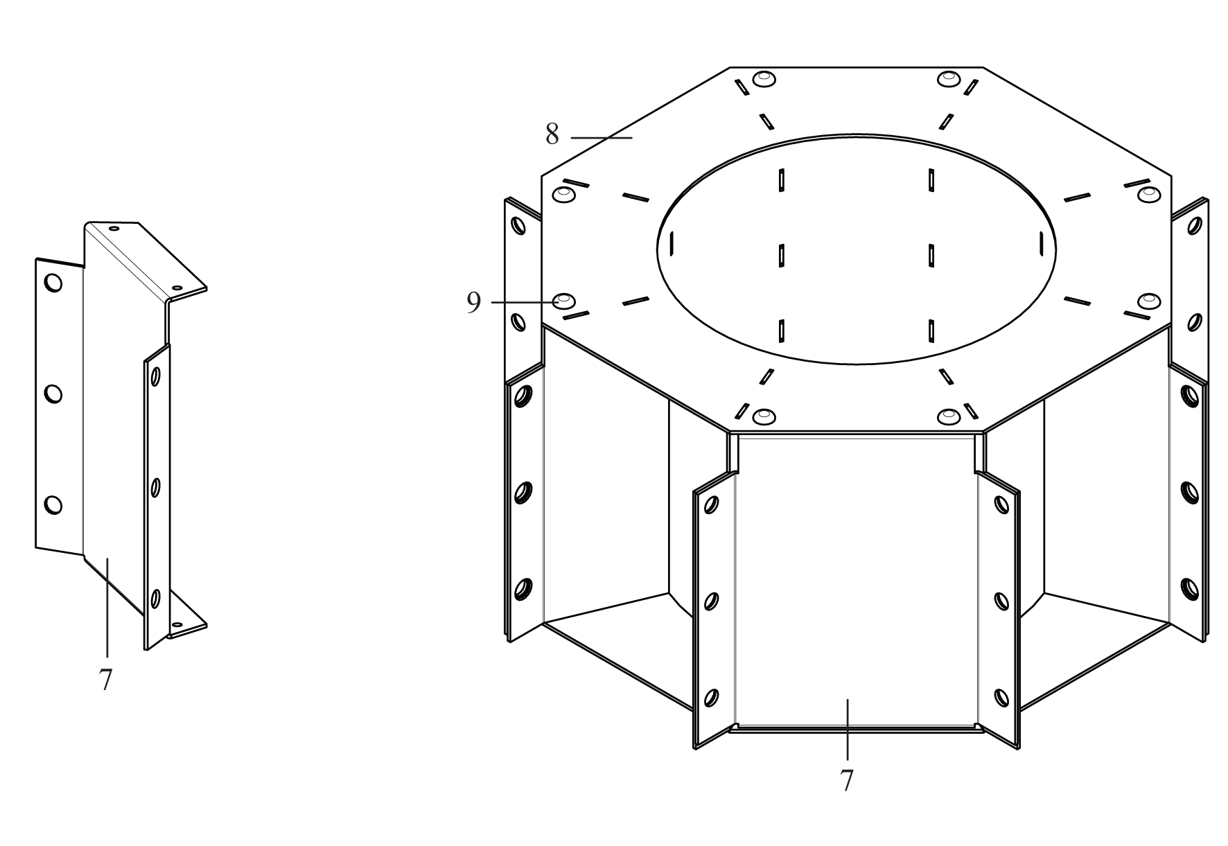
The basic shape of the central box is a 3D octagon with a hole in the center. The ribs of
the octagon plane have a length of 70 mm and the 3D object is 120 mm high. Figure 7
shows some of the its components.
The center of the box is a tube (1) with an inner diameter of 66 mm. Radial sheets (2) are
attached to the tube. The legs are attached to these sheets via flanges (6). The radial sheets point towards the center of the tube. The sheets transfer the radial forces applied to the legs to the center of the box. This prevents unwanted torsion of the box.
Three edges of the radial sheets contains merlons (4). These are inserted into slots (5) and
the remaining space in the slot is filled with a weld. This connects the sheets.
The connection between the tube and the radial sheets fixes the radial and axial degree of
freedom of the sheet. It can now be regarded as a cantilever. One end is fixed and the rest
of the sheet can still bend out of its plane. A bottom (3) and a top sheet (8) (see figure 8)
are added to prevent this. Also merlons are used to connect the radial sheets to the top
and bottom sheet.
![]() |
![]() |
Finally, vertical sheets are added between the outside edges of the top and bottom sheet.
This creates the closed box. Figure 8 shows such a sheet (7). The edges of the sheet
are folded to form flanges. The top and bottom flanges are pop riveted (9) to the top and
bottom sheet of the box. These two sheets are now firmly connected and cannot rotate
with respect to each other. The left and right flange have screw clearance holes. These are
aligned with the holes in the flanges of the radial sheets. Four of these sheets are positioned under 90 degrees with respect to each other. This leaves four open planes at the outside of the box. These are covered by the legs, which are bolted to the box.
All components of the box are made of 6061-aluminum. The sheets have a thickness
of one millimeter. The components can be cut out from a sheet of aluminum with a laser
cutter, after which the flanges can be bent.
Above the central box we got the upper base. This part of the base is developed to make sure there is a good guide of the lifting mechanism. The guidance tube (1) is aligned above the central box to guide the spindle tube. The guidance tube is bolted to the upper bearing clamp (2) and the lower bearing clamp (3) which is mounted to the tube front (8) and back (5) panel. These panels are bolted to the legs using two M5x12 bolts per leg. The cable chain is protected by the cable shielding (4) which is bolted to the tube back panel, which also provides space for the cable chain to be stored when AMIGO is in its low position. The tube front and back panel are reinforced using 4 tube inner (9) and outter (6) reinforcement panels. The reinforcement panels on the sides and the back also provide space for the sliding strips of the torso to pass through which are connected to the central box. Finally, four 48V DC convertors (7) are mounted to the tube front and back panel.
License
Copyright Technische Universiteit Eindhoven 2011.
This documentation describes Open Hardware and is licensed under the CERN OHL v. 1.1.
You may redistribute and modify this documentation under the terms of the CERN OHL v.1.1. (http://ohwr.org/cernohl).
This documentation is distributed WITHOUT ANY EXPRESS OR IMPLIED WARRANTY, INCLUDING OF MERCHANTABILITY, SATISFACTORY QUALITY AND FITNESS FOR A PARTICULAR PURPOSE. Please see the CERN OHL v.1.1 for applicable conditions.



